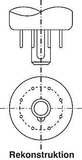
| Achtstiftiger Gnomsockel mit zusätzlichem Mittelkontakt über die Führungsnase, die auf den Pumpstutzen aufgekittet ist. Die Abmessungen und Anordnung der Stifte und des Mittelzapfens entsprechen denen des Loktalsockels. Der äußere Blechkragen der Lokalröhre war hier an der Fassung angebracht.
Wahrscheinlich gab es Schwierigkeiten mit dieser Konstruktion, weil der Pumpstutzen beim Einsetzen der Röhre leicht abbrach. Außerdem ist die elektrische Durchführung direkt am oder im Pumpstutzen fertigungstechnisch problematisch. |
 |

 |