Home Der Aufbau
der Stahlröhren
Die Homepage von H.-T. Schmidt

 

Die Vorläufer der Stahlröhren.

Die ersten brauchbaren Röhren mit Metallkolben aus Kupfer wurden Anfang der 30er-Jahre von den Engländern gebaut. Es waren die Catkin-Röhren, die ähnlich wie die wassergekühlten Senderöhren jener Zeit konstruiert waren. Diese waren aber schon 1935 aus Kostengründen und mangels Akzeptanz wieder vom Markt verschwunden.

Die Amerikaner entwickelten 1935 eine eigene Stahlröhrenserie ohne Quetschfuß und mit stehendem System und dem später sehr weit verbreiteten Oktalsockel. Es wurden gigantische Stückzahlen hergestellt und sehr viele Radiogeräte in aller Welt damit ausgestattet. Ein großes und zunächst ungelöstes Problem war die Vakuumdichtigkeit der Elektrodendurchführungen, weil sie sehr verschiedenen Temperaturen ausgesetzt waren. Das Problem konnte nicht zuverlässig gelöst werden und führte 1938 in den USA zu den MG-Röhren, Glasröhren mit Aluminiumblechüberzug und Oktalsockel.

Um so überraschender war es, als Deutschland 1938 mit eine eigene, völlig neu entwickelte Bauform der Stahlröhren auf den Markt brachte.

 

Der Aufbau der Stahlröhren

Die Stahlröhren hatten entgegen ihren Vorgängern keinen Quetschfuß und ein liegendes System, das eine kurze Leitungsführung zu den Sockelstiften erlaubte. Der Röhrenkolben aus Stahl war Vakuumbehälter und Abschirmung zugleich. Außerdem wurden alle Anschlüsse an einem Ende der Röhre heraus geführt.

Die Werbung jener Zeit propagierte die Unzerbrechlichkeit dieser Röhren. Wer aber täglich mit Röhren umgeht, kann aber bestätigen, daß die wenigsten Röhren durch Kolbenbruch defekt werden. Meistens sind die Röhrensysteme schon vor dem Bruch verformt und unbrauchbar.

Wahrscheinlich wurde diese besonders robuste Konstruktionsart in Hinblick auf eine Verwendung für den Kriegseinsatz entwickelt. Viele Stahlröhren wurden in den Geräten der Wehrmacht verwendet.

Der innere Aufbau einer Pentode.
  1. Stahlgrundplatte
  2. Durchführungsbüchsen aus Fernico, einer speziellen Eisen-Nickel-Kobalt-Legierung zum Ausgleich des Temperaturkoeffizienten der Glasperlen um den Zuleitungen.
  3. Verbindungsdrähtchen zwischen Stiftzuleitung und Systemelektrode.
  4. Glasperlen aus Molydänglas.
  5. Pumpröhrchen aus Kupfer.
  6. Systemträger.
  7. Elektrodensystem.
  8. Glimmerscheiben, halten das System und sorgen für präzise Abstände der Elektroden.
  9. Stahlkolben.
  10. -
  11. Getter aus metallischen Barium oder Magnesium, das in die Umgebung verdampft wird um Gasreste zu binden.
  12. Blech, das das Niederschlagen des Gettermaterials auf das System verhindern soll.
  13. Bakelitsockel.
  14. Führungsnase mit Einraststift.
  15. Gekelchter Kontaktstift, der die Röhre in der Fassung hält.

Die Zeichnugen stammen aus: Grundlagen der Röhrentechnik / Deketh. Die Bilder aus: Rundfunkröhren /Ratheiser.

  

Der Stahlröhrensockel

Die Stahlröhrenfassung bestand aus Bakelit, in den gebogene Blattfedern eingesetzt waren. Die Sockelstifte der Röhre waren kreisförmig in Gruppen zu 3 (5) und 5 Stiften angeordnet. Jeder Stift war gekelcht, so daß die Röhre mit Hilfe der Federn einrastete. Das Einsetzen wurde durch einen Führungsstift mit Nase erleichtert. Die Stahlröhren besaßen in der Fassung und im Sockel einen Schlitz, durch den ein zusätzliches Abschirmblech montiert werden konnte.

Der Stahlröhrensockel wurde auch bei Glaskolbenröhren verwendet.

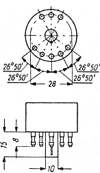
Sockelmaße

Links:
Maße des achtpoliges Sockels für Stahlröhren. Im Röhrenboden ist ein Schlitz für die Aufnahme eines Abschirmbleches vorgesehen.

Mitte:
Maße des achtpoligen Stahlröhrensockels für Röhren mit Glaskolbens.

Rechts:
Maße des relativ seltenen zehnpoligen Stahlröhrensockels für Röhren mit Glaskolbens.

Spezialsockel für die ECF 12 / UCF 12.

Diese Röhren war für eine bessere Abschirmung mit einem Kontaktring versehen. Der Ring sollte ursprünglich aus einer aufgesprühten Silberschicht bestehen; die Ausführung bestand aber aus einem aufgeschweißten Stahlprofil.
Der Kontakt zwischen Sockel und Chassis erfolgte durch eine aufschraubbare Kapsel.

Die Zeichnungen (Die rechte Zeichnung wurde modifiziert) stammen aus: Universal-Vademeccum / Mikolajczik. Die Bilder aus: Rundfunkröhren /Ratheiser.

  

Die verschiedenen Kolbenformen der Stahlröhren

Der Beginn der modernen Pressockel-Röhrentechnik ist schon bei den Stahlröhren zu erkennen. Es gab mehrere Gründe, die neuen Stahlröhren mit größerer Beteiligung von Glas zu bauen:

Der Wandel der Kolbenform im Laufe der Zeit.

Links: Mit Stahlboden bis Herbst 1948
Mitte: Übergangsform mit Glasboden im Winter 1948/49
Rechts: Mit Glasboden und neuem Bakelitsockel ab Frühjahr 1949.


Die Konstruktion des Kolbens.

Links: Bauform bis 1948 (Im Foto links).
Mitte: Bauform im Westen ab 1949 (Im Foto rechts).
Rechts: Bauform im Osten ab etwa 1950 (Siehe unten).

Stahl   Fernico   Glas   (gestrichelt: Sockelteil aus Bakelit)

Die Zeichnung stammt von H.-T. Schmidt. Das Bild aus: Rundfunkröhren /Ratheiser.

 

Die Nachfolger der Stahlröhren.

Die weitere Entwicklung der Stahlröhren führte in drei verschiedene Richtungen:
Rundfunkröhrenentwicklung im Westen:

Die modernen Stahlröhren bekamen wegen des schlechten Stahls Glasböden. Manche Stahlröhren wurden auch mit Glaskolben gebaut. Es entstanden auch einige neue Röhren für den beginnenden UKW-Rundfunk.

Stahlröhren brauchten viel Fläche auf den Rundfunkgerätechassis und hatten auch ein relativ hohes Gewicht. Ab 1949 wurden auf Grund der kleineren Abmessungen der neuen Rundfunkgeräte und wegen der höheren Frequenzen die Rimlock-Röhren herausgebracht, dessen Daten große Ähnlichkeit mit den Stahlröhren hatten. Die Rimlockröhren bedeuteten einen Zwischenschritt zu den moderneren Miniatur- und Novalröhren.

Rechts:
West-UBF 11

 

 

 

 

Unten:
Ost-EBF 11
 

Rundfunkröhrenentwicklung im Osten:

Auch in der Sowjetisch besetzten Zone war eine große Metallknappheit nach dem Krieg, und so wurden die Stahlröhren im Funkwerk Erfurt (bis 1945: Telefunken) mit identischen Abmessungen und Glaskolben gebaut.

Die weitere Entwicklung führte zu Pressglasröhren mit stehenden Stahlröhrensystemen, den Gnomröhren, denen aber kein Erfolg beschieden war.

Glasröhren mit Stahlröhrensockel, darunter einige Neuentwicklungen, konnten sich noch lange behaupten. Am Ende der Röhrenära wurden wie im Westen Miniatur- und Novalröhren verwendet.

Höchstfrequenzröhren:

Noch im Zweiten Weltkrieg begann die Entwicklung der modernen Höchstfrequenzröhren. Ein wichtiger Schritt in diese Richtung war die Herstellung einer vakuumdichten und dauerhaften Metall-Keramik-Verbindung, die erst nach den Erkenntnissen in der Stahlröhrenherstellung möglich wurde.

So entstanden beispielsweise die Scheibenröhren für Sender und die Nuvistoren, die Anfang der 60er-Jahre die Röhrenära offiziell beendeten.

Nuvistor 2 CW 4

Fotos: H.-T. Schmidt

Zurück zur Stahlröhrenseite
Zurück zur Stahlröhrenseite